Introduction
There are two types of glass heat exchangers, coli type and shell and tube type.
- Coil type heat exchanger is mainly used as condenser or cooler. It can, however, be used for heat transfer between liquids & gases in general. It has the coil battery welded to the jacket making a one piece unit. The maximum allowable pressure in the coils is 2.7 bar gauge.
- An approximate calculation of heat transfer surface areas can be based on the following guide figure for heat transfer coefficients.
- The figures do not show the maximum performance of the units but are a general indication of typical working conditions.
- When connecting coil-type condensers to the coolant supply, adequate flexible hose should be used to ensure that stresses are not transmitted to the glass.
- Condenser should never be operated with steam in the coils. They should always be used with an adequate flow of coolant through the coils and care should be taken to ensure that the coolant does not become heated to boiling point.
- Coolant control valves should always be turned on and off slowly, particularly when air is present in the line. Coolant should be allowed to drain freely to a point as close as practicable to the heat exchanger.
- Care should be taken in arranging the coolant supply in order to avoid water hammer A uniform, continuous supply of coolant should be ensured.
- If a condenser is out of service for any length of time, it is advisable to drain the coils, especially in winter when suitable precautions should be taken to prevent freezing of any water remaining after draining.
- Brine or other coolants in closed circuit can be used as coolant provided the suitable precautions against water hammer are taken.
- Condensers can be mounted in series to provide larger surface area. Condensers should be mounted vertically only.
- The maximum pressure in the coil is 2.7 bar. The maximum differential pressure across the coil is2.7 bar.
1. COIL TYPE HEAT EXCHANGER
2. PERFORMANCE DATA
| Jacket Side Medium | Vapour to be Condensed | Liquid | Gas |
|---|---|---|---|
| Coil Side Medium | Cooling Water | Cooling Water | Cooling Water |
| Heat transf. coeff. Kcal/hr - m2 - 0c |
200 - 250 | 100 - 150 | 40 - 60 |
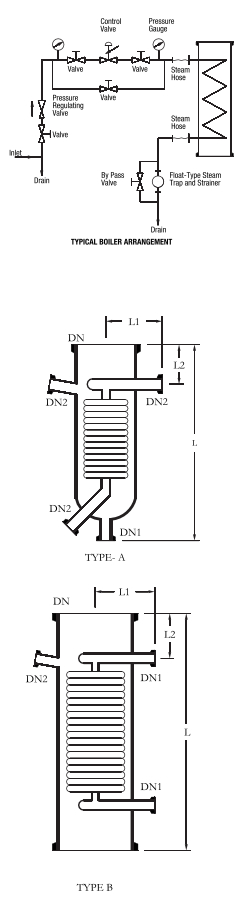
3. PRECAUTIONS TO USE CONDENSER ARE AS FOLLOWS:
HEAT EXCHANGERS
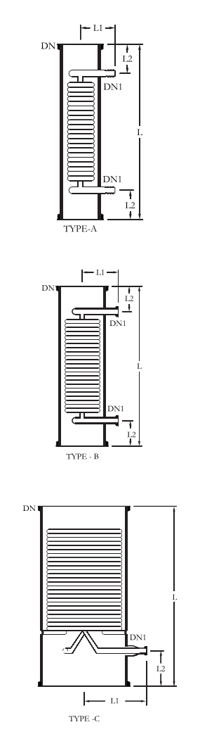
| HTA(m2) | DN | DN1L | L | L1 | L2 | Type | Jacket Cap. Ltr. | Coolant Rate Kg/h | *FCSA SHELL (cm2) | CAT.REF. |
|---|---|---|---|---|---|---|---|---|---|---|
| 0.20 | 40 | 16 | 600 | 85 | 100 | A | 1 | 750 | 4.5 | HHE1.5/2 |
| 0.35 | 50 | 16 | 600 | 90 | 100 | A | 1.25 | 1300 | 5 | HHE2/3.5 |
| 0.35 | 80 | 16 | 600 | 90 | 100 | A | 2 | 1300 | 5 | HHE3/3.5 |
| 0.50 | 100 | 19 | 600 | 120 | 100 | A | 4 | 2400 | 30 | HHE4/5 |
| 0.60 | 100 | 19 | 750 | 120 | 100 | A | 6 | 2400 | 30 | HHE4/6 |
| 1.00 | 150 | 25 | 600 | 150 | 100 | B | 9 | 2600 | 52 | HHE6/10 |
| 1.50 | 150 | 25 | 850 | 150 | 125 | B | 11 | 2600 | 52 | HHE6/15 |
| 2.50 | 225 | 25 | 800 | 180 | 125 | B | 18 | 3300 | 142 | HHE9/25 |
| 2.50 | 300 | 25 | 600 | 250 | 125 | B | 25 | 5700 | 175 | HHE12/25 |
| 4.00 | 300 | 25 | 900 | 250 | 125 | B | 35 | 5700 | 175 | HHE12/40 |
| 4.00 | 400 | 25 | 600 | 265 | 125 | B | 60 | 6200 | 450 | HHE16/40 |
| 5.00 | 400 | 25 | 700 | 265 | 125 | B | 70 | 6200 | 450 | HHE16/50 |
| 6.00 | 450 | 40 | 750 | 325 | 150 | B/C | 100 | 4800 | 820 | HHE18/60 |
| 8.00 | 450 | 40 | 900 | 325 | 150 | B/C | 110 | 6200 | 820 | HHE18/80 |
GLASS BOILER
Type HHEB4, HHEB6 and HHEB9 glass coil-type boiler is normally mounted in external circulatory loops using a spherical vessel as the main still. It should not be installed in the bottom of a flask or column.
The other types of glass coil-type boiler detailed on this page is again mounted in circulatory loops but as it's nominal bore is same at the top and bottom, this unit can under certain circumstances, be installed one above the other to achieve multiples of the basic heat transfer area.
The maximum pressure in the coils is 3.0 barg. The maximum differential pressure across the coils is 3.0 bars. Please refer to the performance data for glass coil-type.
The maximum permissible steam pressure at the coil inlets of boilers is 3.0 bar.g. which is equivalent to a temperature of about 1430 with saturated steam. Higher temperatures can be achieved by using heat transfer fluids.
The heat transferred in most sizes can be considered on average as 250 Kcal/hr - mid with a steam pressure in the coils of 3.0 barg, although this figure declines marginally at lower pressure.
PRECAUTIONS TO USE GLASS BOILER ARE AS FOLLOWS:
1. Flexible hoses must be used on the coil inlet and outlet and must have sufficient fall to avoid the collection of condensate.
2. To clear the line of the very heavy condensate flow produced on start-up, by-pass valves must be installed around the trap on the coil outlet.
3. void the possibility of steam hammer, the steam main should be adequately trapped.
4. Control valves and pressure gauges should be positioned near to the heat exchanger.
5. Coil type boilers should not be fitted at the bottom of flasks or columns. They are designed to be mounted on an external circulatory loop, This ensures a rapid unidirectional flow across the heating surfaces, which improves the heat transfer performance and promotes smooth operation.
6. The steam pressure should always be adequate enough to ensure effective and smooth condensate removal. This pressure will vary according to the conditions of use and size heat exchanger. For example, with the AHEB 12/12, a minimum pressure of 2 bar.g will probably be required.
7. On start-up, the steam should be admitted positively and progressively to the coil battery to remove the condensate as it is formed and with the by-pass valve left open until a uniform flow of condensate is being vented.
8. Depending upon the overall operating conditions, the use of boilers under high vacuum is not always recommended.

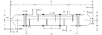
| HTA(m2) | DN | DN1 | DN2 | L | L1 | L2 | *FCSA SHELL (cm2) | Jacket Cap. Ltr. | Type | CAT. REF. |
|---|---|---|---|---|---|---|---|---|---|---|
| 0.15 | 100 | 25 | 25 | 375 | 125 | 100 | 40 | 2 | A | HHEB4 |
| 0.15 | 100 | 25 | - | 400 | 125 | 100 | 40 | 3 | B | HHEB4/4 |
| 0.35 | 150 | 40 | 25 | 450 | 150 | 100 | 50 | 5 | A | HHEB6 |
| 0.35 | 150 | 25 | - | 500 | 150 | 100 | 50 | 7 | B | HHEB6/6 |
| 1.00 | 225 | 40 | 25 | 700 | 180 | 100 | 150 | 16 | A | HHEB9 |
| 1.00 | 225 | 25 | - | 700 | 180 | 100 | 180 | 20 | B | HHEB9/9 |
| 1.30 | 300 | 25 | 25 | 700 | 215 | 125 | 330 | 40 | B | HHEB12/12 |
Immersion heat exchanger is used to control exothermic reactions in glass vessels. In most applications, cooling water is used in the coils, but they can also be used with steam. In the latter case the coils must always be completely immersed in the liquid. The maximum pressure in the coils is 3.0 barg.
The maximum differential pressure across the coils is 3.0 bars.
| Area (m2) | DN | DN1 | DN2 | L | L1 | D | CAT. REF. |
|---|---|---|---|---|---|---|---|
| 0.4 | 150 | 40 | 25 | 200 | 200 | 145 | HHEM6 |
| 0.6 | 225 | 40 | 25 | 300 | 200 | 200 | HHEM9 |
PRODUCT COOLER
AHEF product cooler is general purpose cooler, used typically for the cooling of products from distillation columns. The cooler is connected directly to the product outlet of the column by means of DN1. The product then flows from the top to the bottom of the unit through the coil battery across which the cooling water flows counter currently from bottom to top.
For connection of the cooling water inlet and outlet, we recommend the use of angled hose connections.
| Area (m2) | DN | DN1 | DN2 | L | Type | CAT. REF. |
|---|---|---|---|---|---|---|
| 0.1 | 50 | 25 | 16 | 450 | A | HHEF 1/1 |
| 0.2 | 50 | 25 | 16 | 600 | A | HHEF 1/2 |
| 0.3 | 80 | 25 | 16 | 600 | A | HHEF 1/3 |
| 0.35 | 100 | 25 | 19 | 600 | A | HHEF 1/3.5 |
| 0.50 | 150 | 25 | 25 | 600 | B | HHEF 1/5 |
| 1.00 | 150 | 25 | 25 | 850 | B | HHEF 1/10 |

This glass connector is used to connect flexible hose to the inlets and outlets of coil type condensers.
Shell and tube heat exchanger provides a versatile alternative to the coil-type heat exchnger described in previous pages. Shell and tube heat exchanger is particularly suitable for applications where large heat transfer area is required in relatively confined spaces. It is equally suitable for heat transfer between two liquids or gases.
Shell&tube heat exchanger is available in single-pass as well as multi-pass.
Both versions are available with glass or mild steel shells in combination with glass tubes as standard. Consequently, there are three basic models.
| CAT.REF. | SHELLS | E ND FITTINGS | TUBES | NUMBER OF PASSES |
|---|---|---|---|---|
| HRGG | Glass | Glass | Glass | 1 |
| HRGM | Glass | Steel | Glass | 1/2/3 |
| HRMG | Steel | Glass | Glass | 1 |
SALIENT FEATURES
Universal corrosion resistance
Outstanding heat transfer
Space-saving arrangement by installing in horizontal or vertical position
Simple replacement of inner tubes for repair and cleaning
Low maintenance cost
Available in wide range of HTAs.
CONSTRUCTION FEATURES
The glass tubes are individually sealed in the PTFE tube plates using threaded bushes. The special construction ensures permanent tightness and easy replacement and cleaning of tubes. Baffles on shell side ensureimproved heat transfer by increased turbulence.
Sealing principle similar on all models :
1. Metal Cover (Bonnet)
2. PTFE Tube Plate (Tube Sheet)
3. Threaded Bush
4. Glass Tube
5. Baffle
6. Glass Shell
7. PTFETube
8. Tai Rodin PTFE
9. Cast Iron/SSFlange
10. Springs
11. Screwed Rodor Nut
12. Insert
13. Flat Washer
| CAT. REF HRGG/HRGM. Area (m2) |
6/3 3 |
6/4 4 |
6/5 5 |
6/6 6 |
9/6 6 |
9/8 8 |
9/10 10 |
9/12 12 |
12/12 12 |
12/16 16 |
12/21 21 |
12/26 26 |
|---|---|---|---|---|---|---|---|---|---|---|---|---|
| DN | 150 | - | - | - | 225 | - | - | - | 300 | - | - | - |
| DN1 | 80 | - | - | - | 100 | - | - | - | 150 | - | - | - |
| DN2 | 50 | - | - | - | 50 | - | - | - | 80 | - | - | - |
| DN3 | 25 | - | - | - | 40 | - | - | - | 40 | - | - | - |
| DN4 | 50 | - | - | - | 50 | - | - | - | 50 | - | - | - |
| H1 | 175 | - | - | - | 250 | - | - | - | 300 | - | - | - |
| H2 | 150 | - | - | - | 205 | - | - | - | 240 | - | - | - |
| L1 | 2534 | 3034 | 3834 | 4534 | 2864 | 3364 | 4164 | 4864 | 2916 | 3416 | 4216 | 4916 |
| L2 | 440 | 440 | 440 | 440 | 690 | 690 | 690 | 690 | 730 | 730 | 730 | 730 |
| L3 | 1650 | 2150 | 2950 | 3650 | 1480 | 1980 | 2780 | 3480 | 1450 | 1950 | 2750 | 3450 |
| L4 | 440 | 440 | 440 | 440 | 690 | 690 | 690 | 690 | 730 | 730 | 730 | 730 |
| L5 | 2030 | 2530 | 3330 | 4030 | 2030 | 2530 | 3330 | 4030 | 2030 | 2530 | 3330 | 4030 |
| L6 | 155 | 155 | 155 | 155 | 175 | 175 | 175 | 175 | 200 | 200 | 200 | 200 |
| L7 | 1350 | 1850 | 2650 | 3350 | 1030 | 1530 | 2330 | 3030 | 1000 | 1500 | 2300 | 3000 |
| L8 | 1960 | 2460 | 3260 | 3960 | 1940 | 2440 | 3240 | 3940 | 1910 | 2410 | 3210 | 3910 |
| No. of Tubes | 37 | - | - | - | 73 | - | - | - | 151 | - | - | - |
| No. of Baffles | 11 | 14 | 19 | 24 | 7 | 9 | 13 | 17 | 5 | 7 | 10 | 13 |
| T | 50 | - | - | - | 60 | - | - | - | 75 | - | - | - |
All glass tubes have an external diameter of 13mm or 14mm and a wall thickness of 1mm.

The maximum permissible operating conditions in borosilicate glass 3.3heat exchangers are detailed in the table below.
Permissible Operating Pressure Ranges (bar g)
| Models | Side | DN 150 | DN 225 | DN 300 |
|---|---|---|---|---|
| HRGG | Shell | 2.0 | 1.0 | 0.75 |
| [Glass Shell/Metal Header] | Tube | 2.0 | 1.0 | 0.75 |
| HRGM | Shell | 2.0 | 1.0 | 0.75 |
| [Glass Shell/Metal Header] | Tube | 3.0 | 3.0 | 3.0 |
| HRMG | Shell | 3.5 | 3.5 | 3.5 |
| [Metal Shell/Glass Header] | Tube | 2.0 | 1.0 | 0.75 |
- Maximum operating temperature at shell and tube sides: - 40 deg C to 150 deg C.
- Maximum temperature difference between the shell side and tube sides process fluids : 120 deg C.
PERFORMANCE & DESIGN DATA :
The table given below is an indication of the performance of glass shell and tube heat exchanger in several typical applications. More specific advice can be given on receipt of details.
| TYPE OF HEAT TRANSFER | BASIS | Kcal / mh2C0 |
|---|---|---|
| Water - water | 500 - 600 | |
| Liquid - Liquid Cooling - | Water - organic solvents | 250 - 600 |
| Water - oil | 75 - 350 | |
| Water - air | 25 - 250 | |
| Liquid -- Gas Condensation - | Water - water | 600 - 900 |
| Water organic solvents | 400 - 600 | |
| Evaporation - | Steam - organic solvents | 400 - 600 |
| Steam - water | 500 - 900 |
SUPPORT :
Generally two types of supports are used in shell and tube heat exchangers depending upon MOC of shell & tube heat exchangers.
MOC of these supports is M.S.
Download PDF
Download PDFOther Products
© 2023 Heta Glass And Polymers PVT. LTD.
Design & Developed By : Dalia Web & Soft Solution
