Introduction
Valves are widely used in the chemicals, pharmaceutical and allied industries. They form an essential part of any process plant or system in a wide range of applications, such as flow controls, pressure relief and filtering.
Valve bodies are made-up of Borosilicate glass 3.3 with PTFE bellow. So the material comes into contact with these products (Borosilicate glass and PTEF) only. Therefore valves are fully corrosion resistant and chemically inert as they have a glass body. Monitoring of the valve operation can be done visually. The entire valve range is suitable to use at full vacuum.
Valves
| DN | DN1 | d | L | H | CAT. REF |
|---|---|---|---|---|---|
| 15 | 15 | 12 | 125 | 90 | PV07 |
| 25 | 25 | 18 | 175 | 175 | PV1 |
| 40 | 25 | 18 | 225 | 175 | PV1.5/1 |
| 40 | 40 | 26 | 225 | 200 | PV1.5 |
| 50 | 50 | 38 | 300 | 220 | PV2 |

| DN | DN1 | d | L | H | D | CAT. REF. |
|---|---|---|---|---|---|---|
| 15 | 15 | 12 | 125 | 90 | 14 | PVD07 |
| 25 | 25 | 18 | 175 | 175 | 28 | PVD1 |
| 40 | 25 | 18 | 225 | 175 | 28 | PVD1.5/1 |
| 40 | 40 | 26 | 225 | 200 | 42 | PVD1.5 |
| 50 | 50 | 38 | 300 | 220 | 50 | PVD2 |

| DN | DN1 | d | L | H | degº | CAT. REF. |
|---|---|---|---|---|---|---|
| 15 | 15 | 12 | 50 | 80 | 90 | PVE07/90 |
| 15 | 15 | 12 | 50 | 80 | 80 | PVE07/80 |
| 25 | 25 | 18 | 100 | 175 | 90 | PVE1/90 |
| 25 | 25 | 18 | 100 | 175 | 80 | PVE1/80 |
| 40 | 40 | 26 | 150 | 200 | 90 | PVE1.5/90 |
| 50 | 50 | 38 | 150 | 200 | 90 | PVE2/90 |

| DN | D | d | L | CAT. REF |
|---|---|---|---|---|
| 15 | 10 | 125 | 80 | PVE07 |
| 25 | 11 | 10 | 150 | PVL1 |
| 40 | 11 | 10 | 150 | PVL1.5 |

| DN | D | d | L | L1 | CAT. REF. |
|---|---|---|---|---|---|
| 25 | 12 | 10 | 280 | 85 | PVW1/07 |
| 40 | 12 | 10 | 280 | 85 | PVW1.5/07 |
This valve is used in vertical lines only. It is clamped between buttress end using long bolts.Total assembly consists of PTFE & glass ball.

| DN | d | L | CAT. REF. |
|---|---|---|---|
| 15 | 5 | 19 | NRD07 |
| 25 | 10 | 25 | NRD1 |
| 40 | 15 | 33 | NRD1.5 |
This valve prevents the accumulation of solids or liquids in the bottom outlet of a vessel. This valve can be incorporated in any spherical or cylindrical vessel.

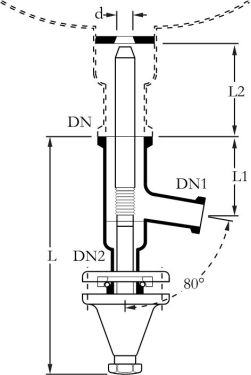
| DN | DN1 | DN2 | d | L | L1 | L2 | CAT. REF. |
|---|---|---|---|---|---|---|---|
| 40 | 25 | 25 | 26 | 260 | 105 | 190 | BAL1.5 |
| 50 | 40 | 25 | 38 | 260 | 105 | 190 | BAL2 |
This valve is suggested for adjusting the interface in separators (e.g. in Liquid to Liquid Extraction). Level adjustment is substantially variable and is by means of a PTFE tube fitted with sealing mouth that can be moved up and down inside a precision bore glass tube.

| DN | DN1 | d | L | L1 | L2 | CAT. REF. |
|---|---|---|---|---|---|---|
| 25 | 25 | 25 | 420 | 100 | 50 | OF1 |
| 40 | 25 | 25 | 600 | 150 | 90 | OF1.5 |
| 50 | 25 | 35 | 600 | 150 | 90 | OF2 |
